“几年来因经营不善,虽经多方努力,但仍然无法摆脱经营困境。公司决定申请破产,现拟提出破产申请。”
7月7日晚间,“蜜橙生活”(原名“同程生活”)所属公司苏州鲜橙科技有限公司发布破产公告。在此前一天,7月6日,CEO何鹏宇刚发布公开信称,将进行战略转型调整,启用新的品牌名“蜜橙生活”。
有关员工向蓝鲸TMT爆料称,6月29日,部分苏州地区员工已经收到停工停产通知书;目前不少员工仍在进行劳动仲裁。针对员工赔偿问题,同程生活相关人士向蓝鲸TMT表示,“员工及赔偿这块我们都是依照相关法律法规在进行。”
剧情反转之快令人咋舌,因知名度较高而被媒体称为“社区团购破产第一案”,已获8轮融资的同程生活为何走到了这一步?
三年融资8轮,改名一天后宣布申请破产
据公开资料显示,2017年12月24日,同程集团内部孵化成立“场景电商项目部”。2018年8月1日,同程生活正式成立,升级为以社区团购为主导模式的家庭消费社交电商。
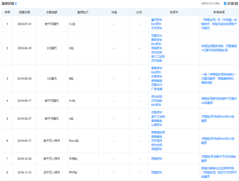
据天眼查显示,成立三年来,同程生活一共获得8轮融资,金额从数千万元至2亿美元不等。最新一轮融资来自2020年7月31日,彼时,其与邻邻壹完成战略合并,襄禾资本及同程生活老股东贝塔斯曼、元禾控股等在C+轮加投数千万美元。
![]()
数轮融资后的同程生活,估值曾达10亿美元。7月6日,何鹏宇在公开信中也提到,过去3年时间,其带着团队从0起步,把公司做到了10亿美金。
去年底,何鹏宇曾在采访中透露,2020年同程生活GMV接近100亿,平均每月GMV近十亿。当时,他还透露了2021年目标——GMV翻三倍,做到300亿-500亿,同时公司整体希望能盈利。
半年过去了,同程生活没有等来翻倍,却以破产宣告结束。
![]()
“过去几天里,我和管理团队尽了全部的努力,但仍无法拯救公司。”7月8日,何鹏宇发布公开信称,鲜橙科技一度希望通过业务转型走出社区团购行业所面临的经营困境,但由于合作伙伴集中催款、公司资金链面临断裂,已无再谋求转型的空间。
7月6日,其在公开信中曾表示,启用新的品牌名“蜜橙生活”,围绕团长 ( KOL、KOC )进行供应链的创新,包括私域流量运营、直播运营、供应链赋能等。这标志着同程生活将从C端业务转向小B端,由给消费者供货转为向团长端供给。
![]()
中国食品产业分析师朱丹蓬在接受蓝鲸TMT采访时指出,To B端对同程生活来说还是有一定机会,因为整个供应链相对比较完善,规模起来之后,其议价能力是有的。因此,To B端会减少很多人员及前置仓的成本,应该来说是有生存的机会。
在朱丹蓬看来,“整体来说,市场及供应商并没有给它任何喘息的机会,所以就宣告破产。”其进一步指出,生鲜电商最关键的还是资金实力,部分电商亏钱后还能继续关键在于有人输血,像同程这种没有太多资金实力的企业肯定是不行。
遭供应商讨债,同程生活提出两种解决方案
“生鲜电商的游戏一定是巨头们玩的游戏,虽然说同程融资了几轮,但整体来说它的综合资金实力是不足的”,朱丹蓬分析师认为,供应商也是压倒同程生活的最后一根稻草。
7月7日,CEO何鹏宇与被拖欠了上亿元货款的供应商直播进行商讨,据时代财经报道,面对追债的供应商,何鹏宇情绪激动地表示,“如果没有那么多竞争,我们今年年底也上市了。”
实际上,7月5日便有网友爆料称,同程生活苏州总部楼下聚集着来自全国各地的供应商,现场维权供应商有100多家,拉横幅讨要货款。同程生活苏州内部员工刘剑雨(化名)则向蓝鲸TMT记者指出,6月28日-29日左右,部分供应商已经在公司楼下聚集,但是当时人还不多。
何鹏宇在内部信指出,公司已于7日启动破产申请,接下来将依法推进债务处置工作,“全力保全现有资产,交给法院妥善封存处理,积极配合政府指导,以公司资产抵偿债务”,若资产不足以抵偿债务,其承诺将再次创业,并尽努力偿还债务。
据每日经济新闻,多名供应商透露,目前,同程生活方面已经提出了供应商欠款的两种解决方案:
方案A为债务人以现金方式向供应商支付欠款金额的40%,剩余60%,待债务人破产清算后,由法院分配。40%欠款的付款时间为本确认单签署后15日支付一半,本确认单签署后30日支付剩余一半。
方案B,债务人以现金方式向供应商支付欠款金额的60%,剩余40%,供应商放弃追偿,不再向债务人主张任何权益。60%欠款的付款时间为本确认单签署后15日支付一半,本确认单签署后30日支付一半。
![]()
黑龙江海闻律师事务所主任李学军律师向蓝鲸TMT分析道,根据破产法及相关司法解释,如果同程生活在不能清偿到期债务并且资产不足以清偿全部债务或者明显缺乏清偿能力的条件下,于申请破产前6个月内,不论以A方案或B方案清偿供应商债权,因可能存在其他债权人,同程生活的供应商债权人只是全体债权人中一部分,由于对个别债权人的清偿将侵犯其他债权人的合法权益,违反破产法禁止性规定,在破产程序中破产管理人有权申请法院对该等清偿行为予以撤销。
其进一步指出,如果同程生活对供应商的清偿发生在申请破产的6个月之前,从清偿时间的角度分析,两种清偿方案不违反破产法的禁止性规定。按方案A先期收回40%欠款,可以保留另60%欠款的请求权,欠款存在全额收回的可能性。按方案B欠款得到60%清偿后,双方债权债务关系终结,债权人不得另行主张剩余40%债权的请求权,损失40%债权。
他认为,从理论上讲,方案A供应商可能收回100%欠款,方案B只能收回60%欠款,似乎A更有利于供应商。但按照《企业破产法》第113条规定,作为供应商的债权属于普通债权,是最后一个清偿顺位的债权,且破产财产不足以清偿同一顺序的清偿要求的,按照比例分配。在破产清算实务中,对于资不抵债的破产企业,破产财产通常在清偿优先受偿债权后所剩无几。供应商作为普通债权得到100%清偿可能性根本不存在。
“互联网公司与传统制造业相比,其特点之一就是轻资产运营。互联网公司一般没有太多固定资产,主要依靠正常经营中持续收入的现金流(流动资产)运营。像同程生活这类平台企业申请破产的主要原因,一般都是企业现金流动性出现问题。”李学军指出,在这类企业的破产清算过程中,优先级低的债权人很难拿到钱。
为此,不论根据哪种方案,供应商都不可能100%得到清偿。从这个意义讲,在同程生活清偿行为发生在破产申请6个月之前的条件下,李学军认为方案B更有利于供应商,一方面可以先期收回大部分欠款,另一方面减少因参与破产程序而产生的时间和人力成本。当然,具体采用哪一种方案对于普通债权人更为有利,还应由债权人根据同程生活的资产、负债及拟申报破产的原因等客观情况自行决策。
同程生活员工爆料:6月份苏州地区已发放停工协议
“6月份的时候,苏北那边的仓库市场人员已经提前感知到了,因为苏州当时已经给他们发放停工协议了。”
根据刘剑雨提供的停工停产通知书,时间为6月29日,通知显示,“自2021-7-1起,停工停产,结束时间待后续通知。停工停产期间公司给予您基本工资*80%的生活补贴,补贴在每月的工资发放日发放。停工停产期间,您不得再与第三方公司建立劳动关系(包括事实劳动关系)。”
![]()
刘剑雨进一步指出,5月份湖南那边的所有仓库已经关掉。6月30日,市场部包括仓库直接开始清仓卖货。
根据刘剑雨方面说法,7月5日在供应商现场维权之后,同程生活通过企业微信通知所有员工离开公司,没接到通知之前要一直在家办公。
![]()
7月6日,公司安排人力给员工打电话,“通话内容几乎都是一样的,希望员工自主离职,近期会帮助员工内推其他公司。至于赔偿,6月份工资正常发放,7月份零工资,但会帮助缴纳当月五险一金。”刘剑雨指出,好多员工并不接受此方案,但由于口头通知,并未留下相关书面资料。
正是这一天,同程生活宣布改为“蜜橙生活”。
他进一步向记者指出,7月7日,公司宣布申请破产,同时公司内部群通知员工要签订终止劳动合同通知书。至于N+1补偿,公司并没有任何保证,只说交7月份社保。7月8日,员工走仲裁程序,仲裁局的人告知公司已经走了破产流程,暂时不接受仲裁。然而,7月12日,仲裁局开始接受仲裁。
李学军指出,一方面法律允许企业因破产重整而裁员;另一方面,如果企业被依法宣告破产,劳动合同也不可能得以继续履行。根据《劳动合同法》的相关规定,用人单位依照企业破产法规定进行重整,需要裁减人员二十人以上或者裁减不足二十人但占企业职工总数百分之十以上的,经履行特定的程序后,可以解除劳动合同。因破产重整而解除劳动合同可以在企业进行破产重整之前,也可以在破产重整过程中进行。用人单位被依法宣告破产的,按法律规定劳动合同终止,不需要另行签署终止劳动合同的协议。因破产重整而解除劳动合同或因被依法宣告破产而终止劳动合同,用人单位均应向劳动者支付经济补偿。
同时,李学军强调,如果企业违法解除劳动合同,则不会受到法律的保护。用人单位违法解除劳动合同,劳动者要求继续履行的,用人单位应当继续履行;劳动者不要求继续履行或者劳动合同已经无法继续履行的,用人单位应当依法支付赔偿金。用人单位违反劳动合同约定或法律规定,未经协商一致而单方解除劳动合同的,属于违法解除劳动合同的情形,劳动者可以依法申请劳动争议仲裁,要求用人单位继续履行劳动合同或依法支付赔偿金。
据悉,7月9日不少员工去了仲裁中心,当天何鹏宇也到了现场。刘剑雨表示,何鹏宇并没有做过多发言,“后面他说了一句,‘现在公司情况大家也都了解,创业后会拿出20%的股份’,大概意思是创业后对于现员工想要什么待遇都可以满足。”
根据刘剑雨向记者提供的现场视频,视频中何鹏宇表示:“免费给所有此次跟我去创过业的人,只要你们愿意,想要什么东西我就签给你,现在目前我能做的就是这一点,其他没了。”从视频来看,说完后,何鹏宇便鞠躬,说了一句“真对不住了”后离开。
在刘剑雨看来,公司应该在破产清算之后,才给员工按比例发放正常的赔付,“公司目前让签署的终止劳动合同通知书完全是一张白纸。”
![]()
李学军指出,破产法在保护破产企业职工合法权益方面作了特别规定。首先,《企业破产法》第8条规定,债务人提出申请的,应当向人民法院提交财产状况说明、债务清册、债权清册、有关财务会计报告、职工安置预案以及职工工资的支付和社会保险费用的缴纳情况。这是法院受理破产申请的条件,凡是未能提供职工安置预案、未能核查职工社保等的债务人将可能面临无法启动破产程序的局面。
其次,按《企业破产法》第48条规定,职工债权不必由职工自行申报,而是由管理人调查后列出清单并予以公示。职工对清单记载有异议的,可以要求管理人更正,管理人不予更正的,职工可以向人民法院提起诉讼。
第三,根据《企业破产法》113条规定,破产企业清偿破产费用和共益债务后,优先清偿职工债权,包括所欠职工的工资和医疗、伤残补助、抚恤费用,所欠的应当划入职工个人账户的基本养老保险、基本医疗保险费用,以及法律、行政法规规定应当支付给职工的补偿金。职工债权也可能面临因破产财产不足以清偿同一顺位债权而得不到足额清偿的法律风险,职工应作好心理准备。
针对员工赔偿问题,记者询问同程生活相关人士,其表示,“员工及赔偿这块我们都是依照相关法律法规在进行。”
猜你喜欢
微软Bing市场份额不增反降,
“赋能金融,共筑安全”知虎
今热点:春播粮食近尾声 主
安然纳米发光体|马占荣:我 



