近日,5家村镇银行陆续出现用户“提现难”问题,部分银行发布系统升级通知称,期间银行网上银行、手机银行将暂停服务,目前有关部门已针对上述银行“提现难”展开调查。资料显示,许昌农村商业银行股份有限公司(以下简称“许昌农商行”)控股或参股上述银行中4家村镇银行。专家表示,鉴于当前农村金融体系薄弱、资金供需失衡现状,大型商业银行有责任和义务对村镇银行发展给予支持。
然而,许昌农商行亦存在诸多问题亟待解决。股权信息显示,许昌农商行76名企业及个人股东中,25名被列为失信被执行人。此外,许昌农商行现有2笔股权历经三次流拍后进入变卖程序,另有8笔股权即将进行拍卖。
控股村镇银行取款难
近日,禹州新民生村镇银行股份有限公司(以下简称“禹州新民生村镇银行”)、上蔡惠民村镇银行股份有限公司(以下简称“上蔡惠民村镇银行”)、柘城黄淮村镇银行股份有限公司(以下简称“柘城黄淮村镇银行”)、安徽固镇新淮河村镇银行股份有限公司(以下简称“安徽固镇新淮河村镇银行”)、开封新东方村镇银行股份有限公司(以下简称“开封新东方村镇银行”)等5家村镇银行集中出现储户“提现难”问题,多名用户投诉其在上述银行个人存款无法取出。
*部分银行出现取款难问题,截图自央广网消费者投诉平台
禹州新民生村镇银行、上蔡惠民村镇银行官网显示,4月18日,两家银行发布系统升级通知,期间银行的网上银行、手机银行将暂停服务。随后,许昌市人民政府网发布公告称,有不法分子利用禹州新民生村镇银行线上渠道进行诈骗,遂暂停该行系统服务。同时,央行在回复网友留言时表示,目前有关部门已针对上述银行开展调查。
中国文化管理协会乡村振兴建设委员会副秘书长袁帅向《中国科技投资》记者表示,村镇银行自诞生即肩负服务“三农”、振兴乡村重任,作为新型农村金融机构,致力于服务农村地区生产生活、扶持涉农中小企业发展,为缓解农村地区金融服务供给不足问题发挥重要作用。“村镇银行的发展也面临着诸多问题,突出体现在几个方面,社会认可度不高,吸收存款能力较弱;产品单一,中间业务欠缺;风险管理体系不够健全;法律体系尚不完善,政策支持力度有待提高;金融相关人才短缺,专业人才不足,队伍建设乏力”。
值得注意的是,上述银行中有4家与许昌农商行存在一定关联。资料显示,许昌农商行分别持有禹州新民生村镇银行、上蔡惠民村镇银行、柘城黄淮村镇银行、安徽固镇新淮河村镇银行51.08%、62.31%、51%、40%股份。
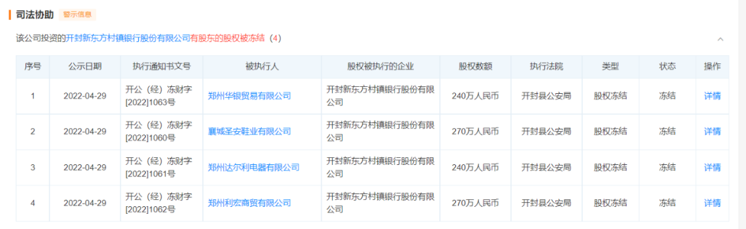
此外,公开信息显示,郑州达尔利电器有限公司(以下简称“达尔利电器”)、郑州华银贸易有限公司(以下简称“华银贸易”)均持有开封新东方村镇银行8%股份,同时,达尔利电器持有禹州新民生村镇银行8.63%股份,华银贸易持有柘城黄淮村镇银行8%股份。然而,达尔利电器持有的开封新东方村镇银行240万元股权数额、华银贸易持有的该行240万元股权数额等均被冻结。
*开封新东方村镇银行股权冻结情况,截图自天眼查
许昌农商行于2009年11月26日挂牌成立,原为许昌魏都区农村商业银行,在原许昌市魏都区农村信用合作联社基础上,经过股份制改造成立的地方股份制金融机构。许昌农商行除持股上述4家村镇银行股份外,另持有安徽黟县新淮河村镇银行股份有限公司40%股份。
针对银行参股或控股村镇银行事宜,袁帅分析道,由于村镇银行授信对象主要面向农户小微企业,两者均具有脆弱性和风险性:粗放式农业生产效率低下,盈利能力有限,且受自然条件影响,自然灾害常使农户暴露于风险之中;小微企业由于自身实力薄弱,缺乏竞争力和经营管理不善,亦存在着亏损风险。袁帅进一步表示,鉴于当前农村金融体系薄弱、资金供需失衡现状,大型商业银行有责任、有义务对村镇银行发展给予支持。
多名股东列入失信名单
据悉,许昌农商行自身亦存在诸多问题。记者在公开渠道无法查询到许昌农商行历年年报信息,且该行官网已不能正常进入。《商业银行信息披露办法》中要求银行应按照规定,于每个会计年度终了后的四个月内披露财务会计报告、各类风险管理状况、公司治理、年度重大事项等信息。
天眼查显示,许昌农商行股东包括76名企业及个人,其中25名股东已被列为失信被执行人。此外,许昌农商行无控股股东,第一大股东持股比例甚至不足5%。
*许昌农商行部分股东被列为失信被执行人,截图自天眼查
许昌农商行的多笔股权还在经历拍卖或变卖。阿里拍卖网显示,目前许昌农商行有2笔股权历经三次拍卖均遭流拍后,已经进入变卖阶段;另有8笔股权即将开始拍卖,总共为4200万股,评估价为1.33亿元,起拍价为1.19亿元。
具体来看,进入变卖程序的两笔股权中,一笔为王某某持有的4.08万股,评估价为140.02万元,变卖价为112.01万元;另一笔为某某公司名下持有的380万股股权,评估价737.2万元,变卖价663.48万元。
*许昌农商行变卖及拍卖股权情况,截图自阿里拍卖网
许昌农商行的8笔股权即将于5月29日开始拍卖。拍卖信息显示,上述股权已被法院查封,其中6笔均为535万股,评估价1690.6万元,起拍价1519.4万元;剩余2笔均为495万股,评估价为1562.4万元,起拍价为1405.8万元。
中央财经大学商学院金融与财务管理系教授、博士生导师杨长汉向《中国科技投资》记者分析道,银行股权被拍卖、被冻结,多与银行盈利能力下降、资产质量劣变直接关联。
杨长汉进一步表示,商业银行股权对投资者吸引力弱的主要原因为银行重资产经营模式导致股东回报有限、银行经营集中于存贷款致使其多元化发展缓慢、银行经营客观产生一定不良贷款导致资产质量隐忧、银行科技化的发展和成长性有待提高、上市商业银行融投资活跃性有待提高等,银行应努力降低负债成本、提高收息优质资产规模、稳健提升投资盈利水平、积极扩大合规中间业务收入。
针对许昌农商行旗下村镇银行及股权相关问题,记者致函该行,截至发稿,未获回复。(张婷杨永洁 )
猜你喜欢
晋江高新技术产业去年产值达
荟聚江城 共赢未来丨荟语酒 



